BY(SSJB-3)壓蓋松套限位伸縮接頭功能介紹:它是由松套伸縮接頭和兩個限位短管組合而成,能防止管道因超量位移導致補償接頭的泄漏和損壞。
壓蓋限位伸縮接頭是由松套伸縮接頭和兩個限位短管組合而成。壓蓋限位伸縮接頭能防止管道因超量位移導致補償接頭的泄漏和損壞,壓蓋限位伸縮接頭主要用于在允許位移范圍內吸收軸向位移和承受軸向壓力推力的管道松套連接。
壓蓋限位伸縮接頭的特點:壓蓋限位伸縮接頭伸縮量大,(10mm-25mm)安裝簡單方便,使用壽命長(使用壽命長達20年-30年)維修方便。
壓蓋限位伸縮接頭的連接方式:
壓蓋限位伸縮接頭管道兩邊以焊接的方式連接。
壓蓋式限位伸縮接頭的安裝方法:
壓蓋限位伸縮接頭兩邊均與管道焊接,壓蓋限位伸縮接頭在安裝時松開壓蓋螺母,調整至安裝長度后把兩端的短管與管道焊接,很后用對角法均勻擰緊螺母,調整好防脫螺母即可。上海駱盈專業生產伸縮器,進口好的原料與設備,頗負盛名的人才與技術,產品質量過硬符合~標準,產品的每一步都經過了嚴格的檢驗與檢測,專業致力管道行業三十年,質量值得您的信賴。上海駱盈管道設備有限公司期待與您合作.
【產品名稱】:BY(SSJB-3)型壓蓋式松套限位伸縮接頭(BY壓蓋松套限位補償接頭)
【產品別名】:法蘭式松套伸縮器 壓蓋式松套伸縮接頭
【產品規格】:【DN32mm-DN4000mm】
【產品壓力】:0.6-2.5MPa
【產品】:
【適用范圍】:【弱酸、弱堿、弱腐蝕類、油、熱水、冷水等】
【產品材質】:碳鋼,球墨鑄鐵,不銹鋼.
【產品顏色】:藍色,可根據客戶要求調色.
【工作溫度】:-40度至80度
在線咨詢
購買熱線: 021-622-00727
BY(SSJB-3)壓蓋松套限位伸縮接頭優點:伸縮量大、使用壽命長(使用壽命長達10—30年)、維修方便。主要用于在允許位移范圍內吸收軸向位移和承受軸向壓力推力的管道松套連接。能夠通過壓蓋與本體的相互擠壓,造成密封圈的變形從而實現在補償管道軸向位移的同時保證管道線路的高度密封。并且由于它采用的是柔性連接,能夠大大降低管道線路的振動和噪音的影響。
BY(SSJB-3)壓蓋松套限位伸縮接頭功能介紹:它是由松套伸縮接頭和兩個限位短管組合而成,能防止管道因超量位移導致補償接頭的泄漏和損壞。
1管道兩邊以焊接的方式連接。管道預留距離過長的時候,可以根據實際情況通過加裝短管增加了產品長度的靈活性,適應各種特殊長度的管道預留的施工環境。
2能夠有效實現管道的軸向位移的補償,降振減噪等功能。
3 方便管道的周期性維護。
據悉,在熱火朝天的冬季行動中,祁縣招商引資工作又有新進展,美國嘉吉公司普瑞納飼料加工項目順利落地該縣經濟開發區。
美國嘉吉公司是全球很大私人控股的動物營養品和農產品制造商,業務涵蓋農產品、食品、化肥和其他工業、金融領域及加工、貿易、運輸、風險管理等領域。2015年7月,該集團農標普瑞納(廊坊)飼料有限公司就投資其山西分公司,興建年產12萬噸飼料加工項目與祁縣簽訂投資意向。項目總投資1200萬美元,項目建成投產后可實現年均銷售收入近2億元,年均納稅約300萬以上,用工大約120人,同時可能帶動種植業、養殖業、交通運輸業等相關產業。
此次上海駱盈為美國嘉吉公司提供的管道伸縮接頭是泵、閥門,管道等設備與管道連接的新產品,該產品根據現場安裝尺寸進行調整,在工作時,可以把軸向推力傳還至整個管道系統。這樣不僅提高工作效率,而且對泵、閥們等管道設備起到一定保護作用。
目前,普瑞納飼料加工項目前期審批、規劃等環節已基本完成,確保開春即可動工建設。

請點擊圖片看大圖
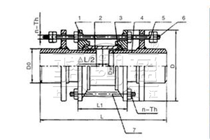
| 序號NO | 名稱Name | 數量Quantity | 材料Material |
| 1 | 本體Body | 2 | QT400-15,Q235A,ZG230-450,20 |
| 2 | 密封圈Gasket | 2 | NBR |
| 3 | 壓蓋Cover | 1 | Q235A, 20,16Mn |
| 4 | 限位短管Limited short pipe | 2 | Q235A,16,16Mn |
| 5 | 螺母Nut | 7n | Q235A,20,1Cr18Ni9Ti |
| 6 | 長螺柱Long Stud | n | Q235A,35,1Cr18Ni9Ti |
| 7 | 螺柱Bolt | n | Q235A,35,1Cr18Ni9Ti |
請點擊圖片看大圖
| 公稱通徑 Nomina iameter |
管子外徑 External diameter of pipe Dw |
外型尺寸Type size | 伸縮量 Compensation δ |
n-TH | 質量 kg |
||||
| Dw | Do | D | L | L1 | 0.6-1.6Mpa | 2.5Mpa | |||
| 65 | 76 | 76 | 155 | 645 | 180 | 45 | 2-M12 | 2-M12 | 10.1 |
| 80 | 89 | 89 | 165 | 14.2 | |||||
| 100 | 108 | 108 | 190 | 2-M16 | 20.4 | ||||
| 114 | 114 | 195 | 23.3 | ||||||
| 125 | 133 | 133 | 215 | 26.5 | |||||
| 140 | 140 | 225 | 28.1 | ||||||
| 150 | 159 | 159 | 245 | 2-M16 | 3-M16 | 32.6 | |||
| 168 | 168 | 255 | 33.3 | ||||||
| 200 | 219 | 219 | 310 | 44.7 | |||||
| 250 | 273 | 273 | 375 | 3-M20 | 4-M20 | 66.6 | |||
| 300 | 325 | 325 | 440 | 655 | 220 | 55 | 5-M20 | 87.8 | |
| 350 | 377 | 377 | 490 | 4-M20 | 102.7 | ||||
| 400 | 426 | 426 | 540 | 110.3 | |||||
| 450 | 480 | 480 | 590 | 5-M20 | 6-M20 | 133.0 | |||
| 500 | 530 | 530 | 645 | 150.4 | |||||
| 600 | 630 | 630 | 750 | 176.4 | |||||
| 700 | 720 | 720 | 850 | 6-M20 | 7-M20 | 210.5 | |||
| 800 | 820 | 820 | 965 | 1075 | 290 | 75 | 6-M24 | 8-M24 | 453.7 |
| 900 | 920 | 920 | 1065 | 7-M24 | 9-M24 | 636.9 | |||
| 1000 | 1020 | 1020 | 1165 | 700.6 | |||||
| 1200 | 1220 | 1220 | 1365 | 8-M24 | 10-M24 | 837.2 | |||
| 1400 | 1420 | 1428 | 1590 | 9-M27 | 12-M27 | 1192.1 | |||
| 1500 | 1520 | 1528 | 1690 | 1278.8 | |||||
| 1600 | 1620 | 1628 | 1795 | 10-M27 | 14-M27 | 1387.5 | |||
| 1800 | 1820 | 1828 | 2000 | 11-M27 | 15-M30 | 1723.2 | |||
| 2000 | 2020 | 2030 | 2200 | 12-M27 | 16-M30 | 2092.6 | |||
| 2200 | 2220 | 2230 | 2420 | 13-M30 | - | 2468.1 | |||
| 2400 | 2420 | 2430 | 2635 | 14-M30 | 2735.2 | ||||
| 2600 | 2620 | 2630 | 2835 | 15-M30 | 3016.4 | ||||
| 2800 | 2820 | 2830 | 3040 | 16-M33 | 3461.8 | ||||
| 3000 | 3020 | 3030 | 3240 | 17-M33 | 3872.3 | ||||
| 3200 | 3220 | 3230 | 3440 | 1130 | 400 | 130 | 18-M33 | 4314.7 | |
壓蓋式松套限位伸縮接頭:該產品適用于管道連接處呈焊接結構,安裝時調整產品兩端連接長度,進行焊接固定,這樣就能讓管道自由伸縮,鎖定伸縮量,確保管道的安全運行。 Loose cover limited telescopic dismantling joint: it is suitable for welded pipe connecting points ,please adjust the length of both ends when installating for fixed welding, which will allow the pipe extended lock retractable, ensuring safe operation of the pipeline.
專業制造、專業服務,駱盈為你創造更多價值 !
不斷提升服務質量,精益求精,“真誠的服務”是駱盈永恒的主題。駱盈嚴格按照 要求,質量嚴格把關,責任到人,確保生產、銷售、服務的健康運行。加強與用戶溝通,竭誠為廣大客戶提供優質產品,至善至美服務,特此駱盈做出如下承諾:
產品標準
產品嚴格按照中國 GB、HG 標準和美國 API 等標準設計、制造、驗收。密封面硬度達到規定要求,寬度超過標準。
售前服務
產品介紹,技術交流,非標產品設計,疑難解答。
售中服務
1、守信合同,保證及時供貨,隨時保持與客戶聯系
2、對特殊或復雜的產品,我廠安排技術人員對用戶進行產品使用、故障排除、調式及維修進行培訓和指導。
售后服務
1、駱盈產品質保期為自出廠起 12 個月,實行“三包”服務(包退、包換、包修)。
2、產品在使用中我廠定期組織技術、檢查人員進行訪問,征詢用戶對產品質量、使用狀況、改進意見等方面的反饋,以便進一步提高產品質量。
3、對用戶投訴產品質量問題,快速做出反映,售后服務人員在 24-36 小時(省外 48 小時)趕赴現場。
4、對售后服務,要求用戶填寫服務后的質量反饋表,并做出鑒定意見,共同提高駱盈的產品質量與服務質量。
1、客戶采購清單請傳真至 021-64207088 E-mail:luoying@luoyingsh.com,或來電咨詢 021-62212627。
2、收到客戶采購清單,為客戶提供產品型號選型與報價(價格清單)。
3、具體商定:交貨期、特殊要求等事宜。
訂貨須知
1、客戶對產品有特殊要求,須在訂貨合同中提供以下說明:
(1)結構長度
(2)連接形式
(3)公稱直徑、全通徑、縮徑、管道尺寸
(4)用介質及溫度、壓力范圍
(5)實驗、檢驗標準及其他要求本廠可根據客戶特殊要求配置定做和設計特殊產品。
2、本廠可根據客戶特殊要求配置定做和設計特殊產品。
3、如由客戶提供確定的產品類型和型號時,客戶應正確說明其型號的含義和要求,在供需雙方理解一致的條件下簽訂合同。
您也可以聯系在線客服