02S404剛性防水套管(C型)適用于管道穿墻處不承受管道振動和伸縮變形的構(建)筑物,對于地震設防要求的地區,如采用剛性防水套管,應在進入池壁或建筑物外墻的管道上就近設置柔性連接。
產品名稱:02S404剛性防水套管C型
別 名:防水套管,剛性防水套管,02S404防水套管
口徑規格:【DN50mm-DN3200mm】
產品顏色:天藍色、紅色(實物顏色見產品展示圖片)
適用范圍:【鋼管、PP管等】
產品標準:02S404(圖集號)
產品等級:A級,
工作溫度:-20度至80度(還可加工整體304、316、316L不銹鋼)
在線咨詢
購買熱線: 021-622-00727
使用工程:水池水庫,衛生間,管道穿底板防水套管應用,管道(循環水,天然氣,煤氣等)穿墻工程項目,樓層過管道預埋處理裝置,地下防水工程,液化場地下結構抗震工程等等
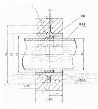
產品介紹:02S404剛性防水套管是適用于管道穿過墻壁之處受有振動或有嚴密防水要求的構筑物的五金管件。02S404剛性防水套管穿墻處之墻壁,如遇非混凝土時應改用混凝土墻壁,而且必須將套管一次凝固于墻內;
一,看表面、國標防水套管參照02s404圖集進行生產加工,尺寸合適國標請求,有履歷的職員能看出個七八分來 。
二,看作工、國標防水套管作工工比非標都要相對的嚴格一些,對焊縫的技術和對噴涂工藝的要求比普通的要高很多來。
三,看重量、國標防水套管依照圖集參數選購材料,不存在使用下腳料和劣質的材料,所以防水套管的分量與國標實際分量相差無幾。
國標類型的防水套管尺寸,做工,還有重量這三點消費者只要仔細觀察和對比都是能夠看出一點貓膩的。上海駱盈生產的防水套管符合~的標準,我們以質量求發展,以誠信贏得市場,專業致力管道行業,產品質量值得您的信賴。
新鄭機場基建工程項目采用駱盈防水套管應用于河南鄭州新鄭機場供水工程,主要產品有:
DN50 60臺
DN65 36臺
DN80 52臺
DN100 136臺
DN150 56臺
DN200 44臺
DN250 16臺
DN300 16臺
機場改擴建工程2007年底竣工后,航站樓建筑面積為12.8萬平方米,機坪面積為25.6萬平方米,機位43個,年旅客保障能力1200萬人次,貨郵保障能力35萬噸。鄭州新鄭機場作為河南省的空中門戶和國內重要的航空港之一,空中航線貫穿東、西、南、北,是中原地區空中交通樞紐,承擔著河南省的大部分航空運輸任務,運輸規模占全省民航運輸的96%以上。鄭州新鄭機場包括南航河南分公司1個基地公司在內的31家航空公司在鄭州新鄭機場運營,共開通82條航線,通航52個城市和地區,每周航班1400多個。2012年完成旅客吞吐量1167.36萬人次,躋身全國機場18強。貨郵吞吐量完成15.1萬噸,增長47.1%,增速位居全國大型機場~名,總量位居全國第十五位。

請點擊圖片看大圖
| 序號No. | 名稱Name | 數量Quantity | 材料Material |
| 1 | 本體Body | 1 | Q235A |
請點擊圖片看大圖
|
DN |
D1 |
D2 |
D3 |
D4 |
δ |
b |
k |
|
50 |
60 |
80 |
114 |
225 |
3.5 |
10 |
4 |
|
65 |
75.5 |
95 |
121 |
230 |
3.75 |
10 |
4 |
|
80 |
89 |
110 |
140 |
250 |
4 |
10 |
4 |
|
100 |
108 |
130 |
159 |
270 |
4.5 |
10 |
5 |
|
125 |
133 |
155 |
180 |
290 |
6 |
10 |
6 |
|
150 |
159 |
180 |
219 |
330 |
6 |
10 |
6 |
|
200 |
219 |
240 |
273 |
385 |
8 |
12 |
8 |
|
250 |
273 |
295 |
325 |
435 |
8 |
12 |
8 |
|
300 |
325 |
345 |
377 |
500 |
10 |
14 |
10 |
|
350 |
377 |
400 |
426 |
550 |
10 |
14 |
10 |
|
400 |
426 |
445 |
480 |
600 |
10 |
14 |
10 |
|
450 |
480 |
500 |
530 |
650 |
10 |
14 |
10 |
|
500 |
530 |
550 |
590 |
730 |
10 |
16 |
10 |
|
600 |
630 |
660 |
690 |
830 |
10 |
16 |
10 |
|
700 |
720 |
750 |
790 |
920 |
10 |
16 |
10 |
|
800 |
820 |
850 |
880 |
1020 |
10 |
16 |
10 |
|
900 |
920 |
950 |
980 |
1120 |
10 |
16 |
10 |
|
1000 |
1020 |
1050 |
1080 |
1230 |
10 |
16 |
10 |
|
1200 |
1220 |
1250 |
1290 |
1430 |
12 |
20 |
12 |
|
1400 |
1420 |
1450 |
1490 |
1630 |
12 |
20 |
12 |
|
1600 |
1620 |
1650 |
1690 |
1830 |
14 |
20 |
14 |
|
1800 |
1820 |
1850 |
1900 |
2040 |
16 |
20 |
16 |
|
2000 |
2020 |
2050 |
2100 |
2240 |
16 |
20 |
16 |
專業制造、專業服務,駱盈為你創造更多價值 !
不斷提升服務質量,精益求精,“真誠的服務”是駱盈永恒的主題。駱盈嚴格按照 要求,質量嚴格把關,責任到人,確保生產、銷售、服務的健康運行。加強與用戶溝通,竭誠為廣大客戶提供優質產品,至善至美服務,特此駱盈做出如下承諾:
產品標準
產品嚴格按照中國 GB、HG 標準和美國 API 等標準設計、制造、驗收。密封面硬度達到規定要求,寬度超過標準。
售前服務
產品介紹,技術交流,非標產品設計,疑難解答。
售中服務
1、守信合同,保證及時供貨,隨時保持與客戶聯系
2、對特殊或復雜的產品,我廠安排技術人員對用戶進行產品使用、故障排除、調式及維修進行培訓和指導。
售后服務
1、駱盈產品質保期為自出廠起 12 個月,實行“三包”服務(包退、包換、包修)。
2、產品在使用中我廠定期組織技術、檢查人員進行訪問,征詢用戶對產品質量、使用狀況、改進意見等方面的反饋,以便進一步提高產品質量。
3、對用戶投訴產品質量問題,快速做出反映,售后服務人員在 24-36 小時(省外 48 小時)趕赴現場。
4、對售后服務,要求用戶填寫服務后的質量反饋表,并做出鑒定意見,共同提高駱盈的產品質量與服務質量。
1、客戶采購清單請傳真至 021-64207088 E-mail:luoying@luoyingsh.com,或來電咨詢 021-62212627。
2、收到客戶采購清單,為客戶提供產品型號選型與報價(價格清單)。
3、具體商定:交貨期、特殊要求等事宜。
訂貨須知
1、客戶對產品有特殊要求,須在訂貨合同中提供以下說明:
(1)結構長度
(2)連接形式
(3)公稱直徑、全通徑、縮徑、管道尺寸
(4)用介質及溫度、壓力范圍
(5)實驗、檢驗標準及其他要求本廠可根據客戶特殊要求配置定做和設計特殊產品。
2、本廠可根據客戶特殊要求配置定做和設計特殊產品。
3、如由客戶提供確定的產品類型和型號時,客戶應正確說明其型號的含義和要求,在供需雙方理解一致的條件下簽訂合同。
您也可以聯系在線客服